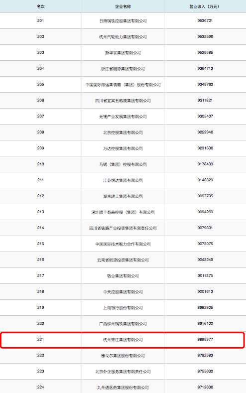
8月31日—9月1日,2019中國500強企業高峰論壇在山東舉行。會上,發布了2019年中國企業500強、中國制造業500強、中國服務業500強三大榜單,錦江連續7年上榜,位列中國企業500強第221位,中國制造業企業500強第97位。



一年一度的中國500強企業高峰論壇由中國企業聯合會、中國企業家協會主辦,自2002年創辦以來已成為展示我國企業界“成績單”和發展走向的重要平臺,由此發布的“中國企業500強”等榜單被業界視為“國內規格最高、要求最嚴、公信力最強的企業排行榜”。本次會議的主題是“新使命、新動能、新突破:大變局中的大企業發展”。來自中國500強企業的領導人、世界500強企業中國區的高層領導人、著名專家學者、主流傳媒及企業和相關代表等1000多人出席會議。
2018年,以中國企業500強為代表的我國大企業,認真貫徹新發展理念,積極應對風險挑戰,主動推動轉型升級,培育發展新動能,繼續保持了穩健發展的態勢。中國制造業大企業攻堅克難,營業收入保持較高增長水平,經濟效益繼續改善,創新能力進一步增強,呈現穩中向好的積極態勢。
而錦江集團也一直以匠心抵達初心,不斷進行技術創新、管理模式創新、積極引進吸收國際先進技術,優勢互補、創新驅動、協同發展,朝“百年錦江”大業的夢想持續邁進。